OEM ЗАПЧАСТИ

  info@automotohub.ru   8 (916) 294-84-77
  О Компании   Оплата и Доставка   Помощь   Обратная связь

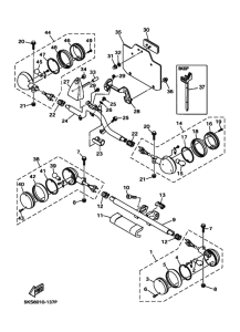
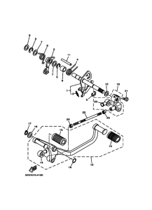
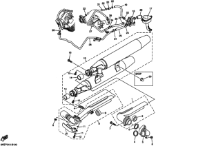
Запчасти для мотоциклов Yamaha XVS1100A Drag Star Classic

Год: 2002  •  Код модели: 5KSH  •  Объем двигателя: 1100
Запчасти для мотоциклов Yamaha XVS1100A Drag Star Classic
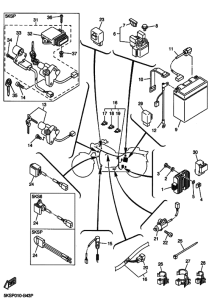
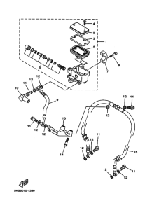
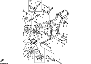
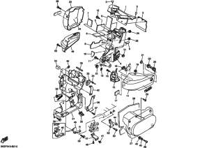
Выбирайте узел вашей техники:


{modalWnd}