OEM ЗАПЧАСТИ

  info@automotohub.ru   8 (916) 294-84-77
  О Компании   Оплата и Доставка   Помощь   Обратная связь

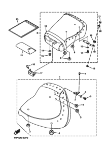
Запчасти для мотоциклов Yamaha XVS1100A Drag Star Classic

Год: 2006  •  Код модели: 11P1  •  Объем двигателя: 1100
Запчасти для мотоциклов Yamaha XVS1100A Drag Star Classic
{modalWnd}