OEM ЗАПЧАСТИ

  info@automotohub.ru   8 (916) 294-84-77
  О Компании   Оплата и Доставка   Помощь   Обратная связь

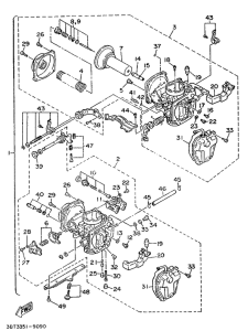
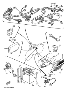
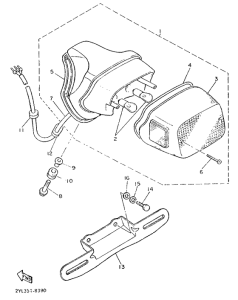
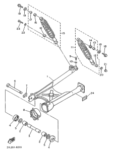
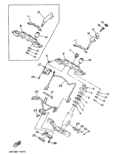
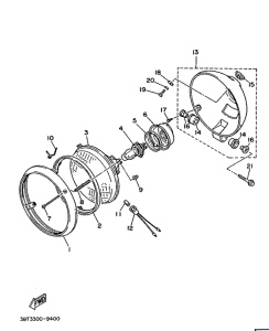
Запчасти для мотоциклов Yamaha XV535 Virago

Год: 1989  •  Код модели: 3BT2  •  Объем двигателя: 535
Запчасти для мотоциклов Yamaha XV535 Virago
{modalWnd}