OEM ЗАПЧАСТИ

  info@automotohub.ru   8 (916) 294-84-77
  О Компании   Оплата и Доставка   Помощь   Обратная связь

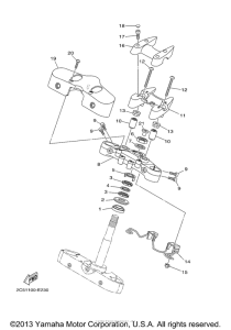
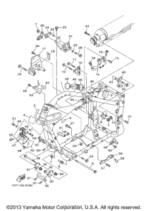
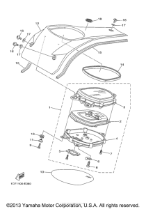
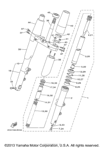
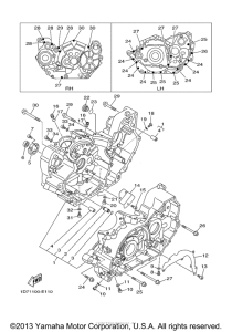
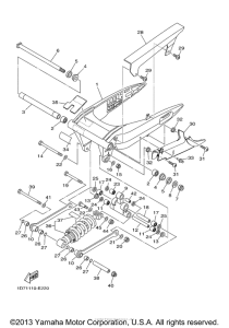
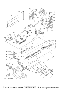
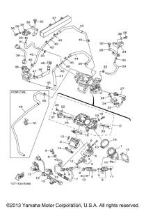
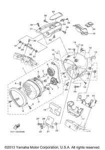
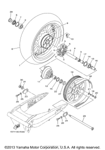
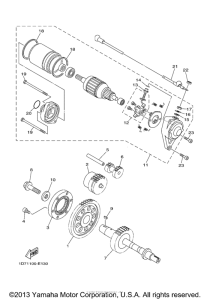
Запчасти для мотоциклов Yamaha XV1900CT Stratoliner

Год: 2006  •  Код модели: 4P01  •  Объем двигателя: 1900
Запчасти для мотоциклов Yamaha XV1900CT Stratoliner
{modalWnd}