OEM ЗАПЧАСТИ

  info@automotohub.ru   8 (916) 294-84-77
  О Компании   Оплата и Доставка   Помощь   Обратная связь

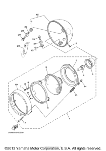
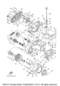
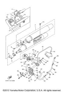
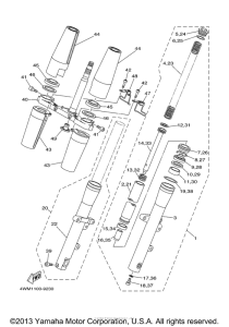
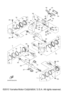
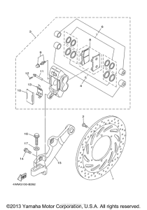
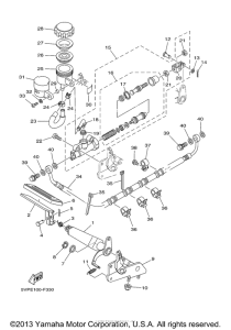
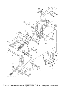
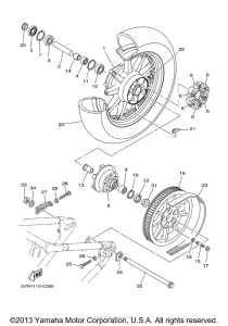
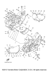
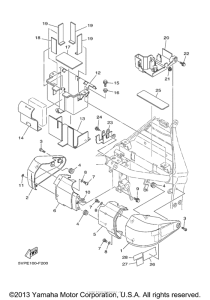
Запчасти для мотоциклов Yamaha XV17ATMW Road Star Midnight Silverado

Год: 2007  •  Код модели: 2D99  •  Объем двигателя: 1700
Запчасти для мотоциклов Yamaha XV17ATMW Road Star Midnight Silverado
{modalWnd}