OEM ЗАПЧАСТИ

  info@automotohub.ru   8 (916) 294-84-77
  О Компании   Оплата и Доставка   Помощь   Обратная связь

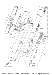
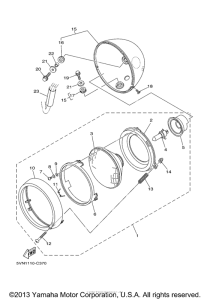
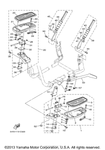
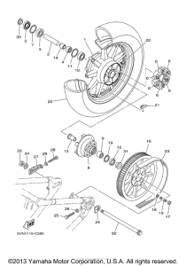
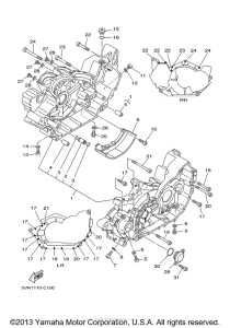
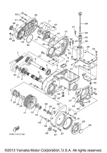
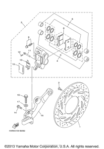
Запчасти для мотоциклов Yamaha XV17ATMTC Road Star Midnight Silverado

Год: 2005  •  Код модели: 2D92  •  Объем двигателя: 1700
Запчасти для мотоциклов Yamaha XV17ATMTC Road Star Midnight Silverado
{modalWnd}