OEM ЗАПЧАСТИ

  info@automotohub.ru   8 (916) 294-84-77
  О Компании   Оплата и Доставка   Помощь   Обратная связь

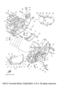
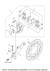
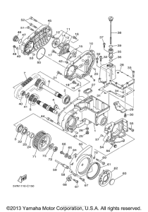
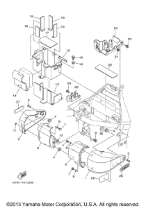
Запчасти для мотоциклов Yamaha XV17AT Road Star (Spoke Wheels)

Год: 2005  •  Код модели: 5VNA  •  Объем двигателя: 1700
Запчасти для мотоциклов Yamaha XV17AT Road Star (Spoke Wheels)
{modalWnd}