OEM ЗАПЧАСТИ

  info@automotohub.ru   8 (916) 294-84-77
  О Компании   Оплата и Доставка   Помощь   Обратная связь

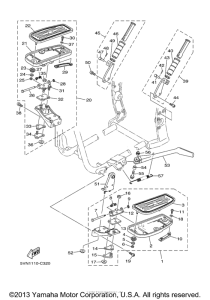
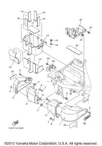
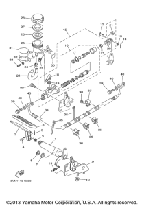
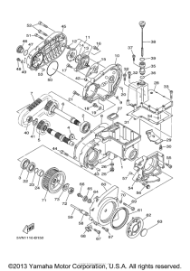
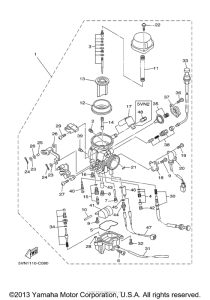
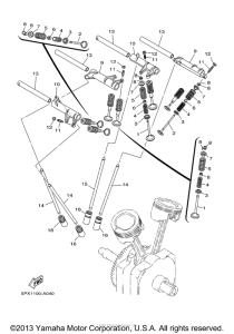
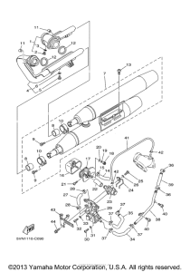
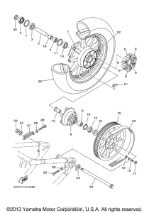
Запчасти для мотоциклов Yamaha XV17ASC Road Star

Год: 2004  •  Код модели: 5VN2  •  Объем двигателя: 1700
Запчасти для мотоциклов Yamaha XV17ASC Road Star
{modalWnd}