OEM ЗАПЧАСТИ

  info@automotohub.ru   8 (916) 294-84-77
  О Компании   Оплата и Доставка   Помощь   Обратная связь

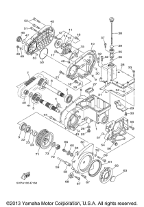
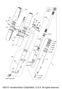
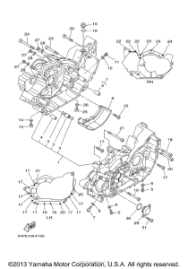
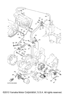
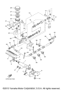
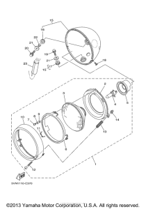
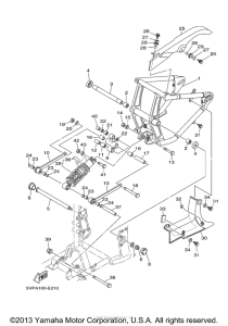
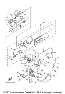
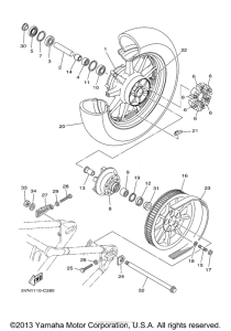
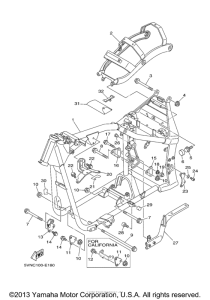
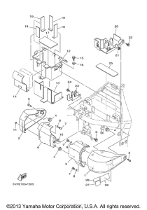
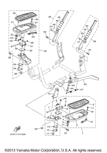
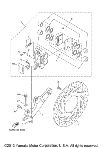
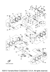
Запчасти для мотоциклов Yamaha XV17AMW Road Star Midnight

Год: 2007  •  Код модели: 5VRA  •  Объем двигателя: 1700
Запчасти для мотоциклов Yamaha XV17AMW Road Star Midnight
{modalWnd}