OEM ЗАПЧАСТИ

  info@automotohub.ru   8 (916) 294-84-77
  О Компании   Оплата и Доставка   Помощь   Обратная связь

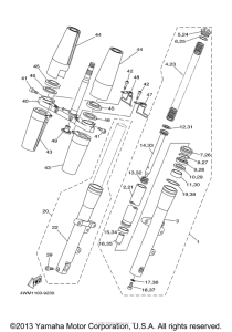
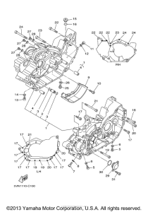
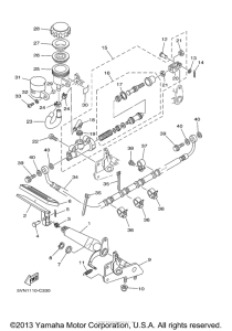
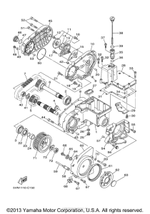
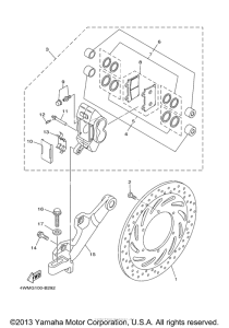
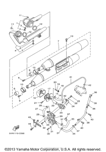
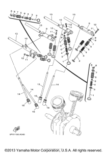
Запчасти для мотоциклов Yamaha XV17AMSC Road Star Midnight

Год: 2004  •  Код модели: 5VR2  •  Объем двигателя: 1700
Запчасти для мотоциклов Yamaha XV17AMSC Road Star Midnight
{modalWnd}