OEM ЗАПЧАСТИ

  info@automotohub.ru   8 (916) 294-84-77
  О Компании   Оплата и Доставка   Помощь   Обратная связь

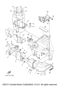
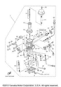
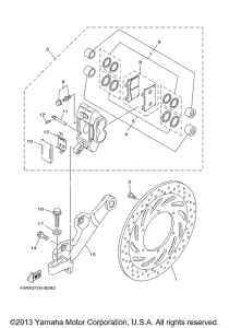
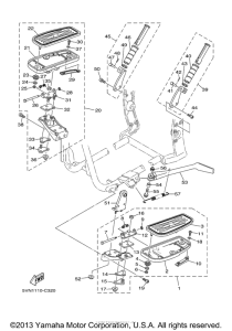
Запчасти для мотоциклов Yamaha XV17AMS Road Star Midnight

Год: 2004  •  Код модели: 5VR1  •  Объем двигателя: 1700
Запчасти для мотоциклов Yamaha XV17AMS Road Star Midnight
{modalWnd}