OEM ЗАПЧАСТИ

  info@automotohub.ru   8 (916) 294-84-77
  О Компании   Оплата и Доставка   Помощь   Обратная связь

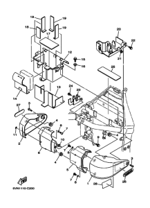
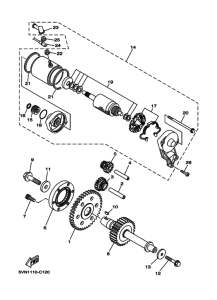
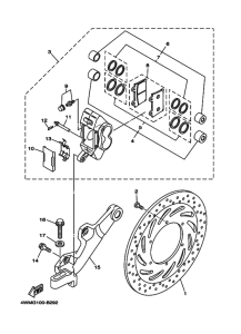
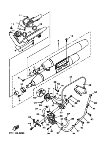
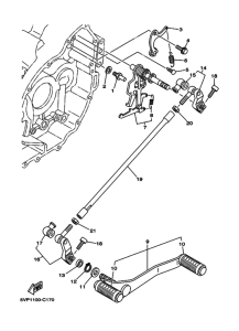
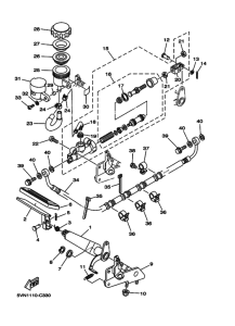
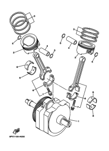
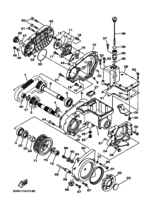
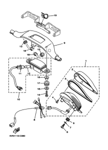
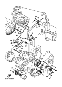
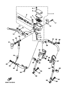
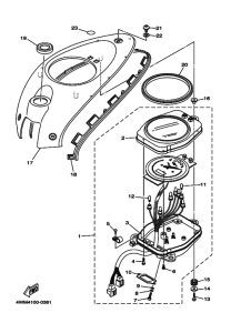
Запчасти для мотоциклов Yamaha XV1700AT XV17ATS Road Star Silverado

Год: 2004  •  Код модели: 5VP3  •  Объем двигателя: 1700
Запчасти для мотоциклов Yamaha XV1700AT XV17ATS Road Star Silverado
{modalWnd}