OEM ЗАПЧАСТИ

  info@automotohub.ru   8 (916) 294-84-77
  О Компании   Оплата и Доставка   Помощь   Обратная связь

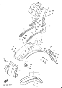
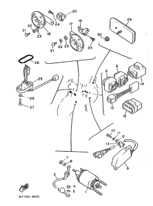
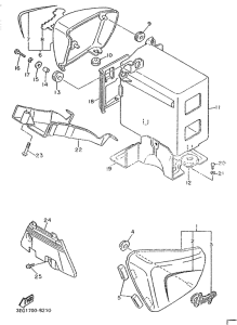
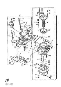
Запчасти для мотоциклов Yamaha XV1100SE Virago

Год: 1988  •  Код модели: 3EF1  •  Объем двигателя: 1100
Запчасти для мотоциклов Yamaha XV1100SE Virago
{modalWnd}