OEM ЗАПЧАСТИ

  info@automotohub.ru   8 (916) 294-84-77
  О Компании   Оплата и Доставка   Помощь   Обратная связь

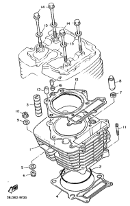
Запчасти для мотоциклов Yamaha XT500E

Год: 1991  •  Код модели: 3WS2  •  Объем двигателя: 500
Запчасти для мотоциклов Yamaha XT500E
{modalWnd}