OEM ЗАПЧАСТИ

  info@automotohub.ru   8 (916) 294-84-77
  О Компании   Оплата и Доставка   Помощь   Обратная связь

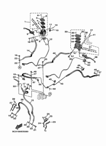
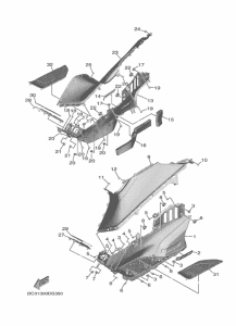
Запчасти для мотоциклов Yamaha XP530D-A T-MAX DX

Год: 2017  •  Код модели: BC31  •  Объем двигателя: 530
Запчасти для мотоциклов Yamaha XP530D-A T-MAX DX
{modalWnd}