OEM ЗАПЧАСТИ

  info@automotohub.ru   8 (916) 294-84-77
  О Компании   Оплата и Доставка   Помощь   Обратная связь

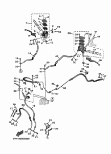
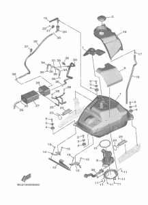
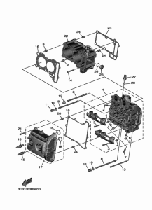
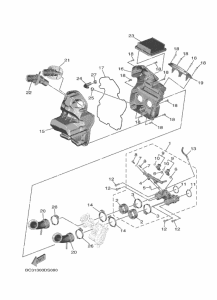
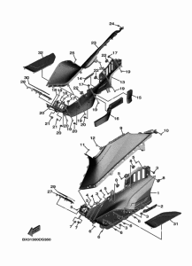
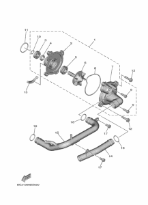
Запчасти для мотоциклов Yamaha XP530-A T-MAX SX

Год: 2017  •  Код модели: BX31  •  Объем двигателя: 530
Запчасти для мотоциклов Yamaha XP530-A T-MAX SX
{modalWnd}