OEM ЗАПЧАСТИ

  info@automotohub.ru   8 (916) 294-84-77
  О Компании   Оплата и Доставка   Помощь   Обратная связь

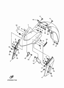
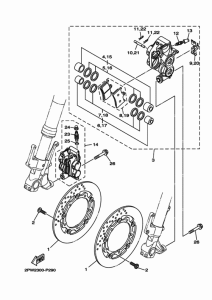
Запчасти для мотоциклов Yamaha XP500A T-MAX 530

Год: 2015  •  Код модели: 2PW2  •  Объем двигателя: 530
Запчасти для мотоциклов Yamaha XP500A T-MAX 530
{modalWnd}