OEM ЗАПЧАСТИ

  info@automotohub.ru   8 (916) 294-84-77
  О Компании   Оплата и Доставка   Помощь   Обратная связь

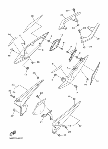
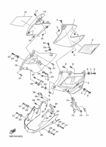
Запчасти для мотоциклов Yamaha XJ6N XJ6-N (Naked)

Год: 2013  •  Код модели: 20SM  •  Объем двигателя: 600
Запчасти для мотоциклов Yamaha XJ6N XJ6-N (Naked)
{modalWnd}