OEM ЗАПЧАСТИ

  info@automotohub.ru   8 (916) 294-84-77
  О Компании   Оплата и Доставка   Помощь   Обратная связь

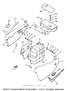
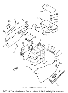
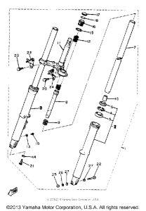
Запчасти для мотоциклов Yamaha XJ550RH

Год: 1981  •  Объем двигателя: 550
Запчасти для мотоциклов Yamaha XJ550RH
{modalWnd}