OEM ЗАПЧАСТИ

  info@automotohub.ru   8 (916) 294-84-77
  О Компании   Оплата и Доставка   Помощь   Обратная связь

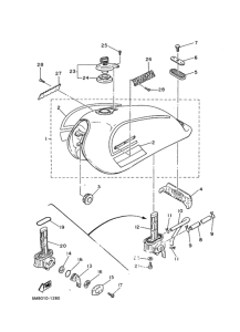
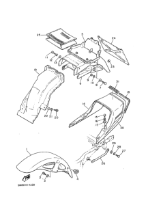
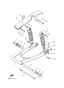
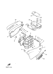
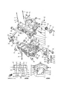
Запчасти для мотоциклов Yamaha XJ400D

Год: 1981  •  Код модели: 5M9  •  Объем двигателя: 400
Запчасти для мотоциклов Yamaha XJ400D
{modalWnd}