OEM ЗАПЧАСТИ

  info@automotohub.ru   8 (916) 294-84-77
  О Компании   Оплата и Доставка   Помощь   Обратная связь

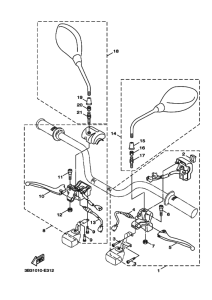
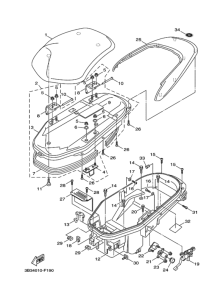
Запчасти для мотоциклов Yamaha XF50D VOX

Год: 2012  •  Код модели: 3B3R  •  Объем двигателя: 50
Запчасти для мотоциклов Yamaha XF50D VOX
{modalWnd}