OEM ЗАПЧАСТИ

  info@automotohub.ru   8 (916) 294-84-77
  О Компании   Оплата и Доставка   Помощь   Обратная связь

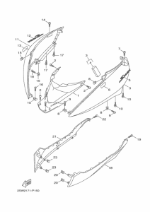
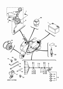
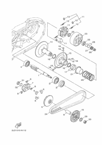
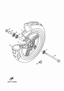
Запчасти для мотоциклов Yamaha XC155 SMAX

Год: 2015  •  Код модели: 2SW2  •  Объем двигателя: 155
Запчасти для мотоциклов Yamaha XC155 SMAX
{modalWnd}