OEM ЗАПЧАСТИ

  info@automotohub.ru   8 (916) 294-84-77
  О Компании   Оплата и Доставка   Помощь   Обратная связь

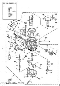
Запчасти для мотоциклов Yamaha XC125K Cygnus

Год: 1997  •  Код модели: 4TH7  •  Объем двигателя: 125
Запчасти для мотоциклов Yamaha XC125K Cygnus
{modalWnd}