OEM ЗАПЧАСТИ

  info@automotohub.ru   8 (916) 294-84-77
  О Компании   Оплата и Доставка   Помощь   Обратная связь

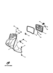
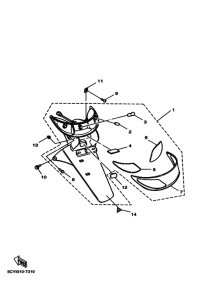
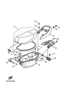
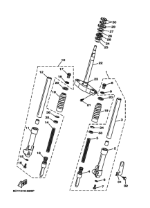
Запчасти для мотоциклов Yamaha XC125M Cygnus SI

Год: 1998  •  Код модели: 5CY1  •  Объем двигателя: 125
Запчасти для мотоциклов Yamaha XC125M Cygnus SI
{modalWnd}