OEM ЗАПЧАСТИ

  info@automotohub.ru   8 (916) 294-84-77
  О Компании   Оплата и Доставка   Помощь   Обратная связь

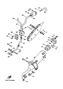
Запчасти для мотоциклов Yamaha XC125V YJ125V Vino

Год: 2006  •  Код модели: 5YR7  •  Объем двигателя: 125
Запчасти для мотоциклов Yamaha XC125V YJ125V Vino
{modalWnd}