OEM ЗАПЧАСТИ

  info@automotohub.ru   8 (916) 294-84-77
  О Компании   Оплата и Доставка   Помощь   Обратная связь

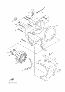
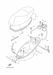
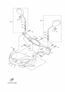
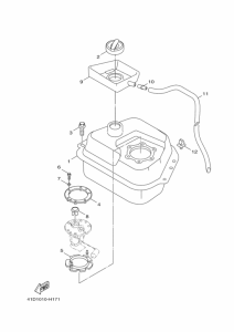
Запчасти для мотоциклов Yamaha XC125E Axis Treet

Год: 2012  •  Код модели: 41D3  •  Объем двигателя: 125
Запчасти для мотоциклов Yamaha XC125E Axis Treet
{modalWnd}