OEM ЗАПЧАСТИ

  info@automotohub.ru   8 (916) 294-84-77
  О Компании   Оплата и Доставка   Помощь   Обратная связь

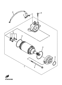
Запчасти для мотоциклов Yamaha WR450F WR450FV

Год: 2006  •  Код модели: 5TJD  •  Объем двигателя: 450
Запчасти для мотоциклов Yamaha WR450F WR450FV
{modalWnd}