OEM ЗАПЧАСТИ

  info@automotohub.ru   8 (916) 294-84-77
  О Компании   Оплата и Доставка   Помощь   Обратная связь

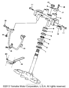
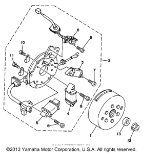
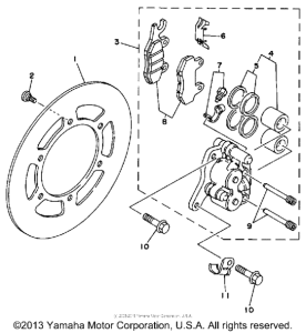
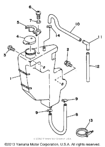
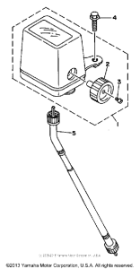
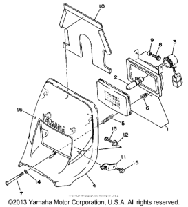
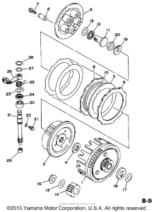
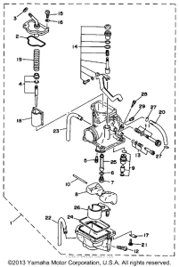
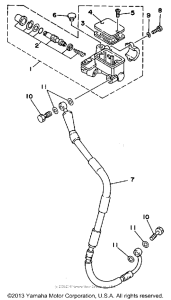
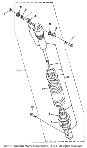
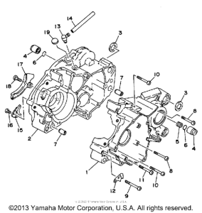
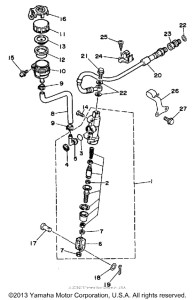
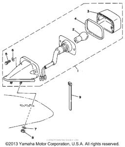
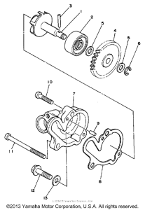
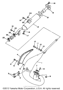
Запчасти для мотоциклов Yamaha WR200RD

Год: 1992  •  Объем двигателя: 200
Запчасти для мотоциклов Yamaha WR200RD
{modalWnd}