OEM ЗАПЧАСТИ

  info@automotohub.ru   8 (916) 294-84-77
  О Компании   Оплата и Доставка   Помощь   Обратная связь

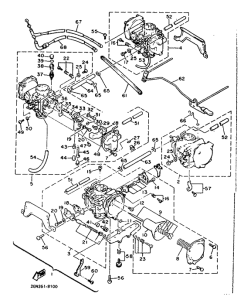
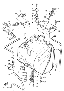
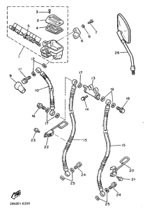
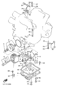
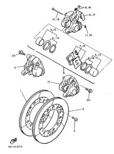
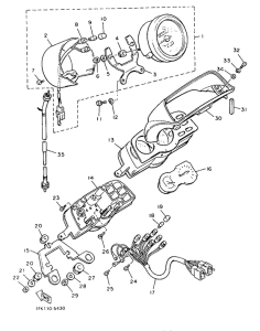
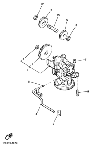
Запчасти для мотоциклов Yamaha V-MAX12 V-MAX

Год: 1988  •  Код модели: 2EN  •  Объем двигателя: 1200
Запчасти для мотоциклов Yamaha V-MAX12 V-MAX
{modalWnd}