OEM ЗАПЧАСТИ

  info@automotohub.ru   8 (916) 294-84-77
  О Компании   Оплата и Доставка   Помощь   Обратная связь

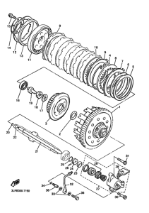
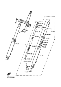
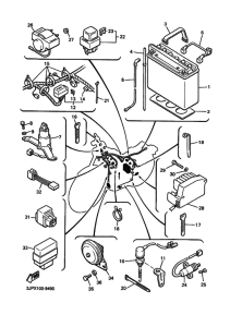
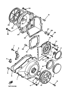
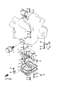
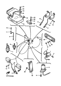
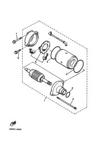
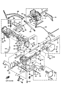
Запчасти для мотоциклов Yamaha VMX12 V-MAX

Год: 1999  •  Код модели: 5GK1  •  Объем двигателя: 1200
Запчасти для мотоциклов Yamaha VMX12 V-MAX
Выбирайте узел вашей техники:


{modalWnd}