OEM ЗАПЧАСТИ

  info@automotohub.ru   8 (916) 294-84-77
  О Компании   Оплата и Доставка   Помощь   Обратная связь

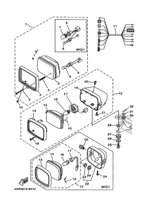
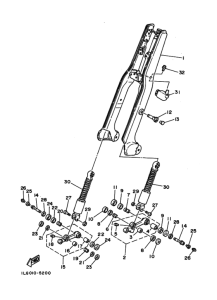
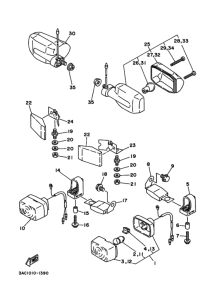
Запчасти для мотоциклов Yamaha V80N Mate

Год: 1993  •  Код модели: 3KG4  •  Объем двигателя: 80
Запчасти для мотоциклов Yamaha V80N Mate
{modalWnd}