OEM ЗАПЧАСТИ

  info@automotohub.ru   8 (916) 294-84-77
  О Компании   Оплата и Доставка   Помощь   Обратная связь

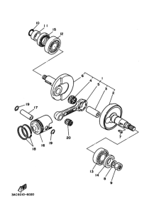
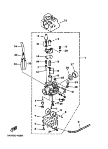
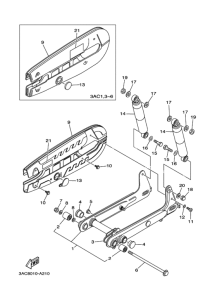
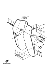
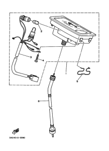
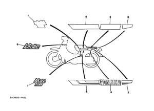
Запчасти для мотоциклов Yamaha V50 Mate

Год: 1993  •  Код модели: 3AC4  •  Объем двигателя: 50
Запчасти для мотоциклов Yamaha V50 Mate
{modalWnd}