OEM ЗАПЧАСТИ

  info@automotohub.ru   8 (916) 294-84-77
  О Компании   Оплата и Доставка   Помощь   Обратная связь

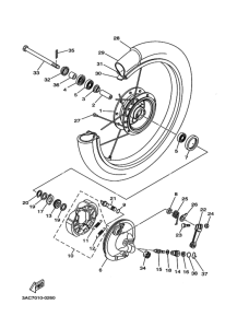
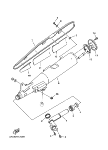
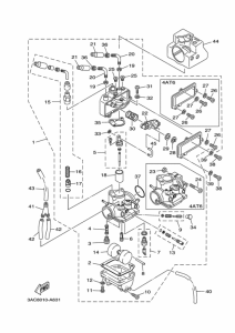
Запчасти для мотоциклов Yamaha V50D Mate

Год: 2002  •  Код модели: 4AT7  •  Объем двигателя: 50
Запчасти для мотоциклов Yamaha V50D Mate
{modalWnd}