OEM ЗАПЧАСТИ

  info@automotohub.ru   8 (916) 294-84-77
  О Компании   Оплата и Доставка   Помощь   Обратная связь

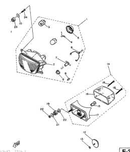
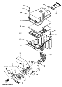
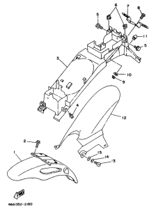
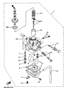
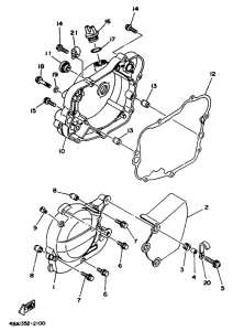
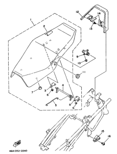
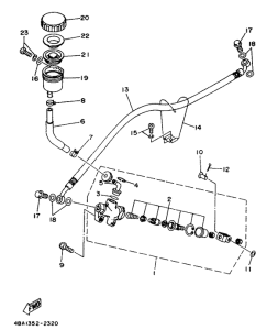
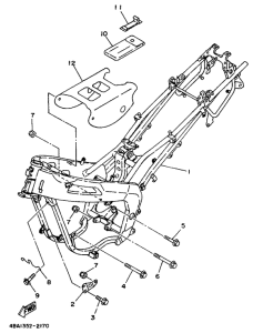
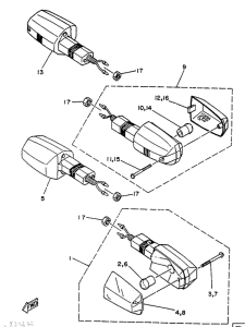
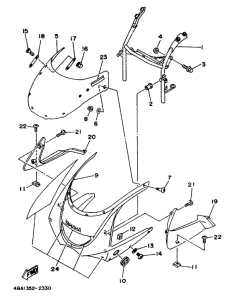
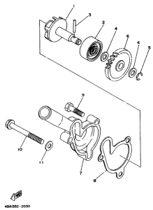
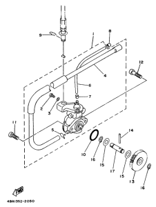
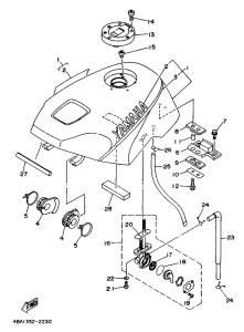
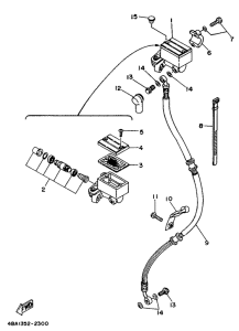
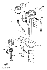
Запчасти для мотоциклов Yamaha TZR80RR

Год: 1992  •  Код модели: 4BA1  •  Объем двигателя: 80
Запчасти для мотоциклов Yamaha TZR80RR
{modalWnd}