OEM ЗАПЧАСТИ

  info@automotohub.ru   8 (916) 294-84-77
  О Компании   Оплата и Доставка   Помощь   Обратная связь

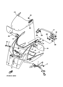
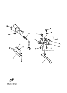
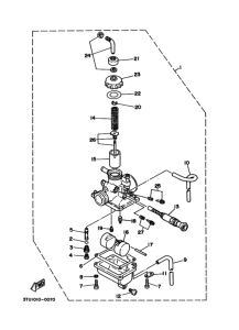
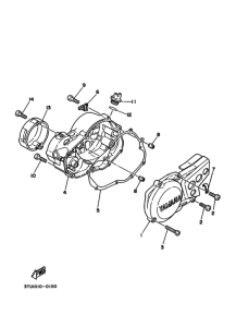
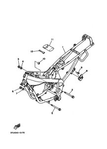
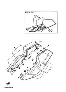
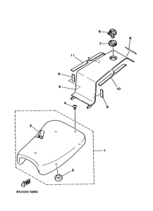
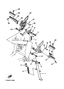
Запчасти для мотоциклов Yamaha TZR50

Год: 1992  •  Код модели: 3TU3  •  Объем двигателя: 50
Запчасти для мотоциклов Yamaha TZR50
{modalWnd}