OEM ЗАПЧАСТИ

  info@automotohub.ru   8 (916) 294-84-77
  О Компании   Оплата и Доставка   Помощь   Обратная связь

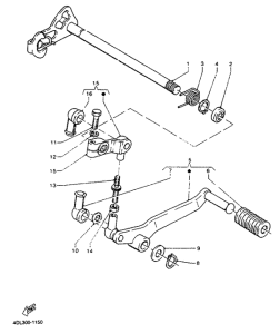
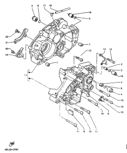
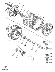
Запчасти для мотоциклов Yamaha TZR125R

Год: 1992  •  Код модели: 4DL2  •  Объем двигателя: 125
Запчасти для мотоциклов Yamaha TZR125R
{modalWnd}