OEM ЗАПЧАСТИ

  info@automotohub.ru   8 (916) 294-84-77
  О Компании   Оплата и Доставка   Помощь   Обратная связь

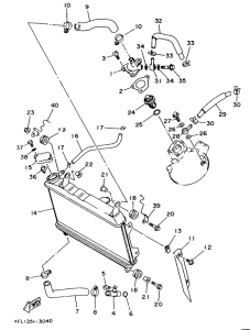
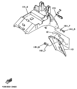
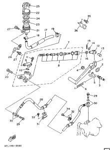
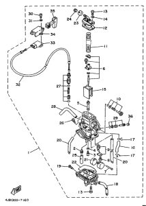
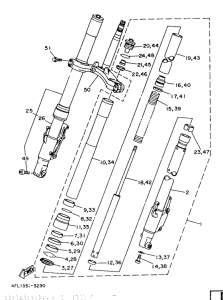
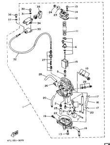
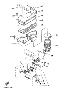
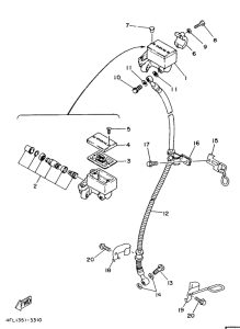
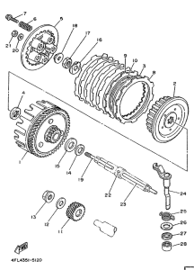
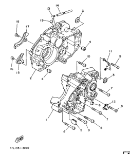
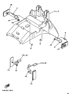
Запчасти для мотоциклов Yamaha TZR125

Год: 1995  •  Код модели: 4JB3  •  Объем двигателя: 125
Запчасти для мотоциклов Yamaha TZR125
{modalWnd}