OEM ЗАПЧАСТИ

  info@automotohub.ru   8 (916) 294-84-77
  О Компании   Оплата и Доставка   Помощь   Обратная связь

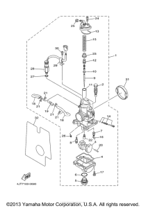
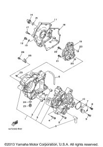
Запчасти для мотоциклов Yamaha TZ125M

Год: 2000  •  Объем двигателя: 125
Запчасти для мотоциклов Yamaha TZ125M
{modalWnd}