OEM ЗАПЧАСТИ

  info@automotohub.ru   8 (916) 294-84-77
  О Компании   Оплата и Доставка   Помощь   Обратная связь

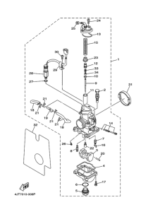
Запчасти для мотоциклов Yamaha TZ125

Год: 2000  •  Код модели: 4JT7  •  Объем двигателя: 125
Запчасти для мотоциклов Yamaha TZ125
{modalWnd}