OEM ЗАПЧАСТИ

  info@automotohub.ru   8 (916) 294-84-77
  О Компании   Оплата и Доставка   Помощь   Обратная связь

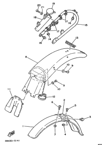
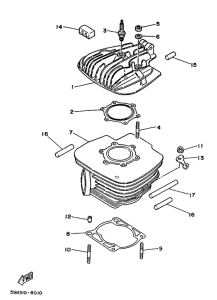
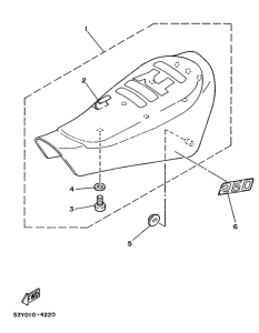
Запчасти для мотоциклов Yamaha TY250S

Год: 1988  •  Код модели: 59N  •  Объем двигателя: 250
Запчасти для мотоциклов Yamaha TY250S
{modalWnd}