OEM ЗАПЧАСТИ

  info@automotohub.ru   8 (916) 294-84-77
  О Компании   Оплата и Доставка   Помощь   Обратная связь

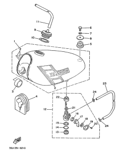
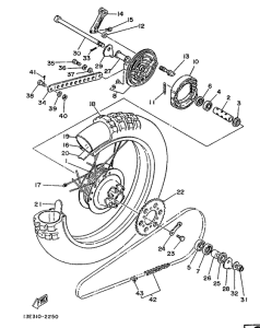
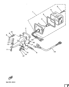
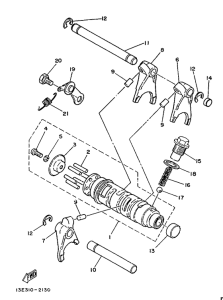
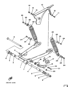
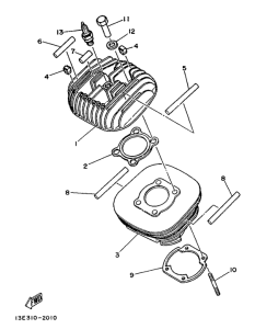
Запчасти для мотоциклов Yamaha TY125

Год: 1989  •  Код модели: 3SU1  •  Объем двигателя: 125
Запчасти для мотоциклов Yamaha TY125
{modalWnd}