OEM ЗАПЧАСТИ

  info@automotohub.ru   8 (916) 294-84-77
  О Компании   Оплата и Доставка   Помощь   Обратная связь

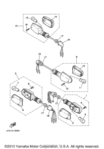
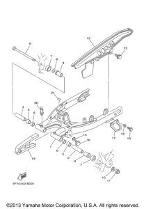
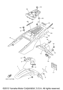
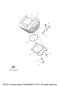
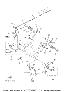
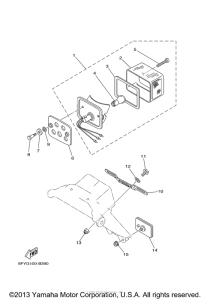
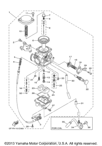
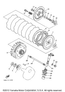
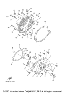
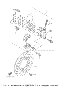
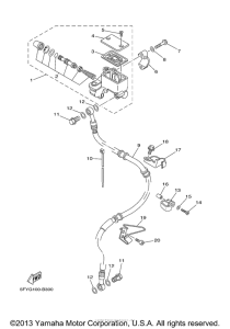
Запчасти для мотоциклов Yamaha TW200W1

Год: 2007  •  Объем двигателя: 200
Запчасти для мотоциклов Yamaha TW200W1
{modalWnd}