OEM ЗАПЧАСТИ

  info@automotohub.ru   8 (916) 294-84-77
  О Компании   Оплата и Доставка   Помощь   Обратная связь

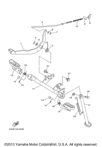
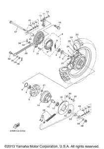
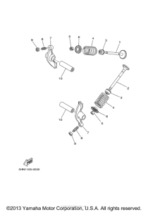
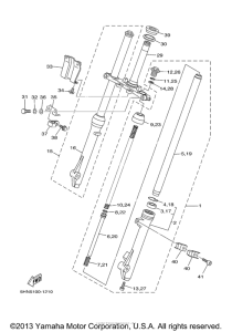
Запчасти для мотоциклов Yamaha TTR90EV TT-R90

Год: 2006  •  Объем двигателя: 90
Запчасти для мотоциклов Yamaha TTR90EV TT-R90
{modalWnd}