OEM ЗАПЧАСТИ

  info@automotohub.ru   8 (916) 294-84-77
  О Компании   Оплата и Доставка   Помощь   Обратная связь

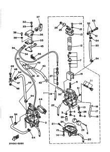
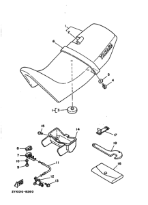
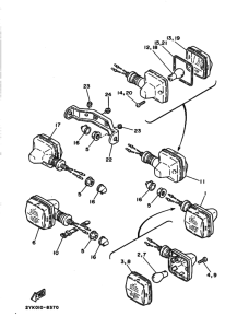
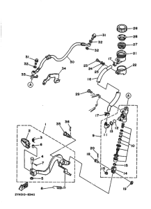
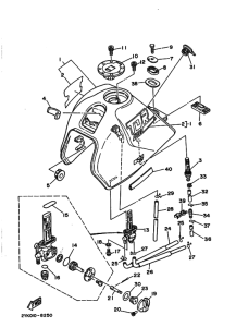
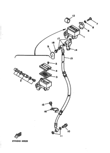
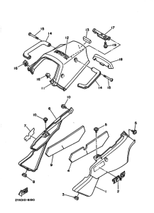
Запчасти для мотоциклов Yamaha TDR250

Год: 1988  •  Код модели: 2YK1  •  Объем двигателя: 250
Запчасти для мотоциклов Yamaha TDR250
{modalWnd}