OEM ЗАПЧАСТИ

  info@automotohub.ru   8 (916) 294-84-77
  О Компании   Оплата и Доставка   Помощь   Обратная связь

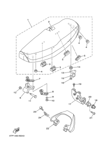
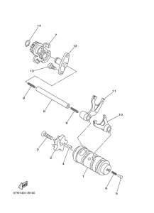
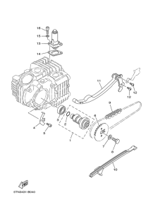
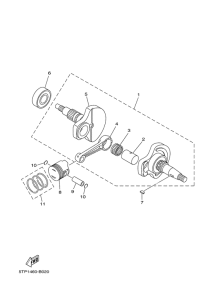
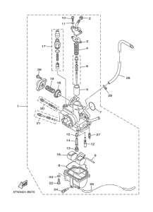
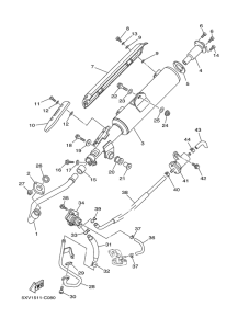
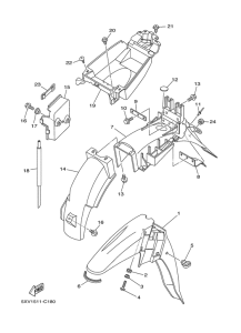
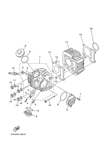
Запчасти для мотоциклов Yamaha T110 Crypton R

Год: 2004  •  Код модели: 5XV1  •  Объем двигателя: 110
Запчасти для мотоциклов Yamaha T110 Crypton R
{modalWnd}