OEM ЗАПЧАСТИ

  info@automotohub.ru   8 (916) 294-84-77
  О Компании   Оплата и Доставка   Помощь   Обратная связь

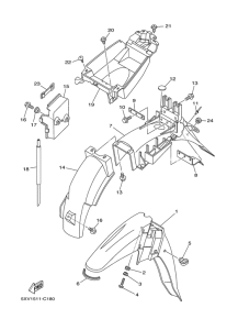
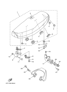
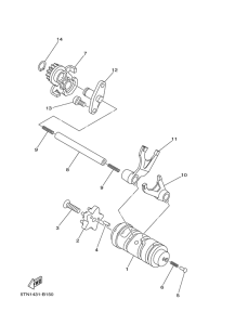
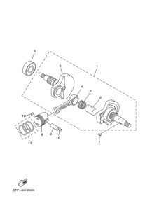
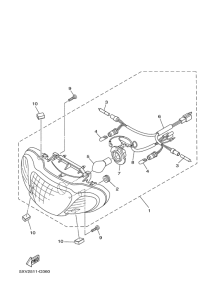
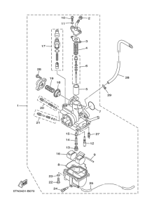
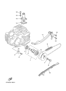
Запчасти для мотоциклов Yamaha T110 Crypton R

Год: 2005  •  Код модели: 5XV2  •  Объем двигателя: 110
Запчасти для мотоциклов Yamaha T110 Crypton R
{modalWnd}