OEM ЗАПЧАСТИ

  info@automotohub.ru   8 (916) 294-84-77
  О Компании   Оплата и Доставка   Помощь   Обратная связь

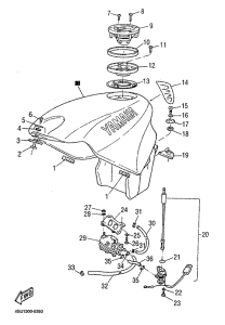
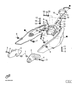
Запчасти для мотоциклов Yamaha SZR660

Год: 1995  •  Код модели: 4SU1  •  Объем двигателя: 660
Запчасти для мотоциклов Yamaha SZR660
{modalWnd}