OEM ЗАПЧАСТИ

  info@automotohub.ru   8 (916) 294-84-77
  О Компании   Оплата и Доставка   Помощь   Обратная связь

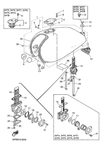
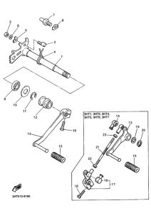
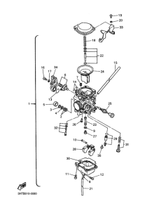
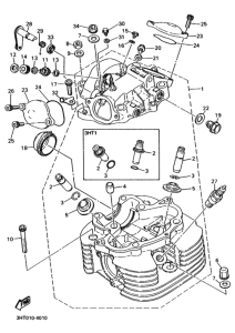
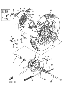
Запчасти для мотоциклов Yamaha SR400S

Год: 1995  •  Код модели: 3HT7  •  Объем двигателя: 400
Запчасти для мотоциклов Yamaha SR400S
{modalWnd}