OEM ЗАПЧАСТИ

  info@automotohub.ru   8 (916) 294-84-77
  О Компании   Оплата и Доставка   Помощь   Обратная связь

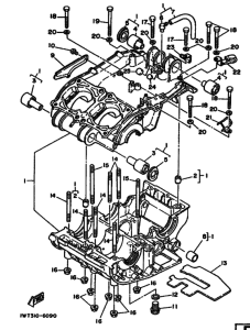
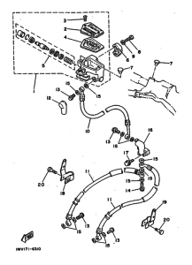
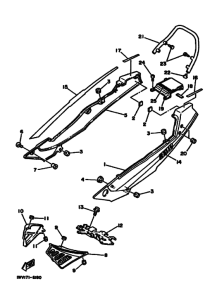
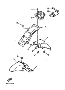
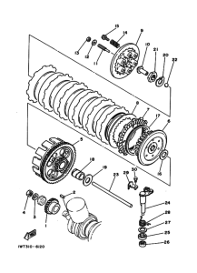
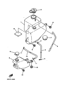
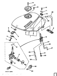
Запчасти для мотоциклов Yamaha RZ350 RZ350U

Год: 1988  •  Код модели: 3FB1  •  Объем двигателя: 350
Запчасти для мотоциклов Yamaha RZ350 RZ350U
{modalWnd}