OEM ЗАПЧАСТИ

  info@automotohub.ru   8 (916) 294-84-77
  О Компании   Оплата и Доставка   Помощь   Обратная связь

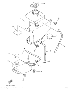
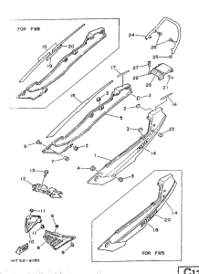
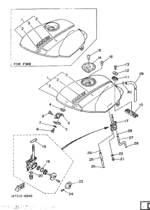
Запчасти для мотоциклов Yamaha RD350LCF(20KW)

Год: 1986  •  Код модели: 1WX  •  Объем двигателя: 350
Запчасти для мотоциклов Yamaha RD350LCF(20KW)
{modalWnd}